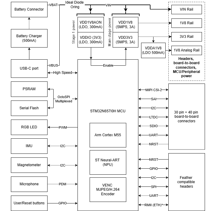
Ohm Lab Neuro N6 บอร์ดพัฒนา Edge AI / AI Vision ขนาดกะทัดรัดแบบโมดูลาร์ ที่รองรับ Arduino โดยใช้ไมโครคอนโทรลเลอร์ STM32N6 Arm Cortex-M55 จาก STMicroelectronics พร้อมตัวเร่งประมวลผล AI Neural-ART ที่ให้ประสิทธิภาพสูงถึง 600 GOPS
บอร์ดมีขนาดเท่ากับ Adafruit Feather และมาพร้อมหน่วยความจำ PSRAM 64MB, Flash 32MB, ไมโครโฟนในตัว, เซนเซอร์ IMU 6 แกนพร้อมแมกนีโตมิเตอร์, พอร์ต USB-C สำหรับจ่ายไฟและโปรแกรม รวมถึงรองรับการจ่ายไฟผ่าน USB-C (5V) หรือแบตเตอรี่ LiPo ด้านล่างของบอร์ดมีคอนเนกเตอร์ความหนาแน่นสูงแบบ 40-pin และ 30-pin สำหรับต่อบอร์ดเสริม เช่น กล้อง (rolling shutter, global shutter หรือ thermal), microSD, Ethernet, WiFi, หน้าจอ TFT และอื่น ๆ

- MCU – STMicro STM32N6
- MCU Core – 32-bit Arm Cortex-M55 CPU @ สูงสุด 800MHz (รองรับ Arm Helium และ MVE)
- GPU – Neo-Chrom 2.5D GPU, Chrom-ART Accelerator (DMA2D)
- NPU – ST Neural-ART accelerator @ 1 GHz, 600 GOPS
- BPU – ตัวเข้ารหัส H.264 และ JPEG แบบฮาร์ดแวร์
- หน่วยความจำ – SRAM 4.2MB
- หน่วยความจำ – PSRAM 64MB (400 MB/s)
- สตอเรจ – flash 32MB (400MB/s)
- ระบบเสียง – ไมโครโฟนในตัว
- USB – พอร์ต USB Type-C (480 Mbps)
- เซนเซอร์
- เซนเซอร์ IMU 6 แกน(accelerator + gyroscope)
- Magnetometer
- การขยาย
- GPIO headers แบบ Feather 16-pin + 12-pin
- คอนเนกเตอร์แบบ high-density 40-pin และ 30-pin (ด้านล่างบอร์ด)
- สตอเรจ – SDMMC 4-bit
- จอแสดงผล – อินเทอร์เฟซ LTDC (RGB565) LCD screen
- กล้อง – อินเทอร์เฟซ MIPI CSI-2 สูงสุด 5MP
- เสียง – SAI
- I2C, SPI , 4-wire UART
- SWDIO, SWCLK & NRST
- 3V3, 1V8, VIN Power
- การดีบัก – 6x จุดบัดกรี JTAG
- อื่นๆ
- ปุ่ม User และ Reset
- RGB LED สำหรับผู้ใช้
- พาวเวอร์ซัพพลาย
- 5V ผ่าน USB-C
รองรับแบตเตอรี่ LiPo 3.7V (วงจรชาร์จ 500mA)
- 5V ผ่าน USB-C
- ขนาด – 53.04 x 22.83 x 8.85มม. (Adafruit Feather form factor)
- น้ำหนัก – 6.7 กรัม

Neuro N6 สามารถพัฒนาโปรแกรมได้ด้วย Arduino IDE สามารถพัฒนาโปรแกรมได้ด้วย สามารถดาวน์โหลดเฟิร์มแวร์และตัวอย่างโปรแกรม Arduino (เช่น YOLOv8) ได้จาก GitHub นอกจากนี้ทางบริษัทยังได้พัฒนา NeuroStudio ซึ่งเป็นแอปพลิเคชันแบบโอเพ่นซอร์ส (กำลังจะเปิดให้ใช้งาน) และรองรับหลายแพลตฟอร์ม ช่วยให้สามารถดูภาพจากกล้องแบบเรียลไทม์ และผลลัพธ์การประมวลผล AI (inference) ได้ทันทีผ่าน USB โดยไม่จำเป็นต้องตั้งค่าไดรเวอร์ USB webcam หรือใช้เครื่องมือภายนอก

สเปคของบอร์ดนี้ค่อนข้างใกล้เคียงกับ OpenMV N6 ที่เปิดตัวไปเมื่อปีที่แล้ว ดังนั้นจึงมีความเป็นไปได้ที่จะสามารถรันเฟิร์มแวร์ MicroPython และโปรแกรม OpenMV Python ได้ แต่ลักษณะการใช้งานจะไม่เหมือนกันเสียทีเดียว อีกหนึ่งแพลตฟอร์มฮาร์ดแวร์ด้าน AI Vision ที่ใช้ STM32N6 คือกล้อง Edge AI CamThink NeoEyes NE301 ซึ่งเป็นโซลูชันแบบสำเร็จรูป (turnkey) มากกว่าการเป็นบอร์ดสำหรับพัฒนา (devkit)
Neuro N6 เป็นบอร์ดแบบโมดูลาร์ แม้ว่าจะออกแบบมาสำหรับงาน AI Vision แต่จะ ไม่มีโมดูลกล้องมาให้ในตัว โดยค่าเริ่มต้นแทนที่จะรวมกล้องมาในบอร์ด, Ohm Lab ได้เตรียมตัวเลือกโมดูลกล้องเสริมไว้หลายแบบ ได้แก่ โมดูลกล้อง 5MP OV5640, รุ่น OV5640-W ที่เพิ่ม WiFi และ Bluetooth, กล้อง Global Shutter ความละเอียด 1.5MP จาก ST และกล้อง Thermal ความละเอียด 1.5MP (FLIR 160×120) นอกจากนี้ยังมีโมดูลเสริม Neuro Vision TFT ซึ่งมาพร้อมหน้าจอสัมผัสความละเอียด 800×480, เซนเซอร์ภาพ OV5640, เซนเซอร์ ToF, แอมป์ 1W และลำโพง, ไฟ Strobe LED และยังสามารถเพิ่ม WiFi และ Bluetooth ได้อีกด้วย สำหรับการเชื่อมต่อ เครือข่าย Ethernet แบบมีสาย สามารถใช้งานผ่านโมดูลเสริม Neuro ETH Shield ได้

Ohm Lab ได้เปิดตัว Neuro N6 พร้อมอุปกรณ์เสริมบน Kickstarter โดยตั้งเป้าระดมทุนไว้ที่ 5,000 ปอนด์ (~220,000฿) ซึ่งขณะนี้สามารถทำได้เกินเป้าแล้ว แพ็กเกจ เริ่มต้นมีราคา $73 (~2,400฿) สำหรับบอร์ด Neuro N6 เพียงอย่างเดียว แต่ผู้ใช้ส่วนใหญ่น่าจะต้องการเพิ่มโมดูลกล้องเข้าไปด้วย โดยชุด Neuro N6 + OV5640 ราคา $99 (~3,300฿) ถือเป็นตัวเลือกที่เหมาะสำหรับการเริ่มต้น ถ้ามีงบประมาณมากขึ้นสามารถเลือกชุด Neuro N6 Ultimate Bundle ราคา $399 (~13,200฿) ซึ่งประกอบด้วยบอร์ด Neuro N6, Vision TFT, Vision OV5640, โมดูล ST Cam ค่าจัดส่งมายังประเทศไทยอีกประมาณ £15 (~660฿) – £25 (~1,000฿) กำหนดเริ่มจัดส่งเดือนพฤศจิกายน 2026 ถ้าเป็นไปตามแผนที่กำหนดไว้
แปลจากบทความภาษาอังกฤษ : Ohm Lab Neuro N6 – Modular STM32N6 AI Vision devkit supports rolling shutter, global shutter, or thermal camera (Crowdfunding)

บรรณาธิการข่าวและบทความภาษาไทย CNX Software ได้มีความสนใจในด้านเทคโนโลยี โดยเฉพาะ Smart Home และ IoT

