Grinn เปิดตัวบอร์ด SBC ขนาดเท่าบัตรเครดิต ที่ใช้โมดูล (SoM) MediaTek Genio 510 หรือ Genio 700 ซึ่งมีซีพียู Cortex-A78/A55 ออกแบบมาสำหรับงาน Edge AI โดยมาพร้อมการรองรับ Thistle Security Platform ผ่านชิปความปลอดภัย Infineon OPTIGA Trust M ที่ติดตั้งอยู่บนบอร์ด เพื่อช่วยให้เป็นไปตามข้อกำหนดของ EU Cybersecurity Resilience Act (CRA)
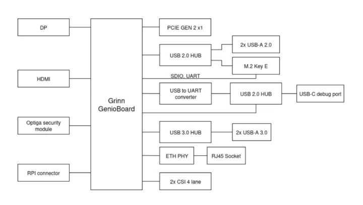
บอร์ด Genioboard มีขนาดและรูปแบบคล้ายกับ Raspberry Pi 3 Model B มาพร้อมกับหน่วยความจำ RAM 4GB, ที่เก็บข้อมูล eMMC 16GB, พอร์ต Gigabit Ethernet, พอร์ต USB 3.0/2.0 จำนวน 4 ช่อง, ช่องแสดงผลภาพ HDMI และ DisplayPort, ขั้วต่อกล้อง MIPI CSI จำนวน 2 ช่อง, GPIO header 40 พิน, พอร์ต USB-C สำหรับดีบัก, ระบบจ่ายไฟผ่าน USB-C PD และที่ด้านล่างของบอร์ดยังมีช่อง M.2 จำนวน 2 ช่องสำหรับติดตั้ง AI accelerator และโมดูลไร้สาย (wireless)

สเปคของ Genioboard :
- System-on-Module – Grinn GenioSOM-510 หรือ Grinn GenioSOM-700
- SoC
- MediaTek Genio 510 (MT8370): โปรเซสเซอร์แบบ hexa-core Arm Cortex-A78/A55 ความเร็วสูงสุด 2.2GHz, GPU Mali-G57 MC2, รองรับการถอดรหัสวิดีโอ 4Kp60 และเข้ารหัสวิดีโอ 4Kp30, NPU ประมวลผล AI ได้สูงสุด 3.2 TOPS, พร้อม DSP เสียง HiFi5
- MediaTek Genio 700 (MT8390): โปรเซสเซอร์แบบ octa-core Cortex-A78/A55 ความเร็วสูงสุด 2.2GHz, GPU Mali-G57 MC3, ถอดรหัสวิดีโอ 4Kp75 และเข้ารหัส 4Kp30, AI accelerator สูงสุด 4.0 TOPS, DSP เสียง HiFi5
- SoC
- หน่วยความจำ – RAM 4GB
หน่วยเก็บข้อมูล – eMMC 16GB - การแสดงผล – HDMI และ DisplayPort
- กล้อง – 2x อินเทอร์เฟซกล้อง MIPI CSI แบบ 4-lane
- การเชื่อมต่อเครือข่าย – พอร์ต Gigabit Ethernet RJ45
- USB
- 2x พอร์ต USB 2.0 Type-A
- 2x พอร์ต USB 3.0 Type-A
- การขยาย
- Header GPIO 40 พิน (เข้ากันได้กับ Raspberry Pi HAT)
- ช่อง M.2 Key-M (PCIe Gen2 x1) สำหรับ AI accelerator
- ช่อง M.2 Key-E (USB/SDIO/UART) สำหรับโมดูล WiFi และ Bluetooth
- การดีบัก – อินเทอร์เฟซ USB-C to UART ในตัว
- ระบบความปลอดภัย – ชิป OPTIGA Trust M SLS32AIA010M สำหรับจัดเก็บคีย์และประมวลผลทางเข้ารหัสแบบฮาร์ดแวร์
- อื่น ๆ
- ปุ่ม Reset และ Download
- ขั้วต่อพัดลม 4 พิน
- แหล่งจ่ายไฟ – รองรับ USB PD ผ่านพอร์ต USB-C
- ขนาด – 87 x 56 มม.
บอร์ด GenioBoard ไม่ได้มาพร้อมระบบปฏิบัติการที่ติดตั้งไว้ล่วงหน้า แต่ทางบริษัทมีการรองรับ Yocto Linux พร้อมสภาพแวดล้อมเดสก์ท็อปแบบ lightweight (แนะนำให้ใช้) รวมถึง Debian ส่วน Android กำลังอยู่ระหว่างการพัฒนา สามารถดูรายละเอียดทางเทคนิคเพิ่มเติมและคำแนะนำในการเริ่มต้นใช้งานได้ที่หน้า Wiki หรือจะเข้าไปที่ Yocto Meta layer บน GitHub ได้โดยตรงก็ได้
ทาง Grinn ระบุว่าบอร์ดนี้ออกแบบมาสำหรับ ผู้ผลิตอุปกรณ์ฝังตัว (Embedded Device OEMs) ที่ต้องการเปิดตัวผลิตภัณฑ์ซึ่งรองรับ AI เช่นระบบ Computer Vision สำหรับการประมวลผลภาพ, อุปกรณ์ IoT ขั้นสูง, Smart Home, ระบบ อัตโนมัติในอุตสาหกรรม (Industrial Automation), การประมวลผล เสียง และวิดีโอแบบสตรีมมิ่ง หรือแอปพลิเคชันมัลติมีเดียอื่น ๆ เราคิดว่ามีบอร์ด SBC ขนาดเท่า Raspberry Pi ที่ใช้ชิป MediaTek Genio 510/700 อยู่ก่อนแล้ว แต่เมื่อตรวจสอบพบว่ามีเพียงบอร์ด Pico-ITX SBC ขนาด 3.5 นิ้ว และ system-on-modules (SoM) เท่านั้น คู่แข่งที่ใกล้เคียงที่สุดในขนาดเท่าบัตรเครดิตคือ Radxa NIO 5A ที่กำลังจะเปิดตัว ซึ่งใช้ชิป MediaTek Genio 520 SoC รุ่นใหม่ และมีสมรรถนะด้าน AI สูงสุดถึง 10 TOPS

ในข่าวประชาสัมพันธ์ระบุว่า Grinn GenioBoard เปิดให้สั่งซื้อได้แล้วโดยตรงจาก Grinn ที่เว็บไซต์ www.genioboard.com หรือผ่านตัวแทนจำหน่ายที่ได้รับอนุญาต แต่เมื่อเข้าไปดูในเว็บไซต์กลับพบเพียงข้อความว่า “Available Soon Through Major Distributors” (จะวางจำหน่ายเร็ว ๆ นี้ผ่านตัวแทนจำหน่ายหลัก) และไม่มีการระบุข้อมูลเกี่ยวกับราคาแต่อย่างใด
แปลจากบทความภาษาอังกฤษ : CRA-compliant Grinn Genioboard Edge AI SBC features MediaTek Genio 510 or 700 System-on-module

บรรณาธิการข่าวและบทความภาษาไทย CNX Software ได้มีความสนใจในด้านเทคโนโลยี โดยเฉพาะ Smart Home และ IoT

