Firefly Technology เปิดตัว CAM-3576 series เป็นบอร์ด SBC ขนาดจิ๋ว (38 × 38 มม.) ที่ใช้ชิป Rockchip RK3576 พร้อม NPU ประสิทธิภาพ 6 TOPS สำหรับงาน AIoT, Edge AI, Smart Vision, ระบบอุตสาหกรรม และยานยนต์ โดยมีให้เลือก 3 รุ่น ได้แก่ CAM-3576Q38 (เชิงพาณิชย์), CAM-3576JQ38 (อุตสาหกรรม) และ CAM-3576MQ38 (ยานยนต์) โมดูลเหล่านี้ถูกออกแบบมาสำหรับ กล้องอัจฉริยะ, ระบบรักษาความปลอดภัยอัจฉริยะ, Dash Cam และการใช้งาน AI แบบประมวลผลบนอุปกรณ์ (On-device AI)
ซีรีส์ CAM-3576 รองรับหน่วยความจำ LPDDR5 สูงสุด 16GB, ที่เก็บข้อมูล eMMC สูงสุด 256GB และมี ช่อง microSD สำหรับขยายเพิ่มเติม นอกจากนี้ยังมีอินเทอร์เฟซครบถ้วน เช่น MIPI CSI รองรับกล้องสูงสุด 16MP พร้อม HDR, Fast Ethernet, Wi-Fi 6, USB 2.0, USB-C (โหมด Device), RS-485, UART, I²C, ADC, GPIO, ระบบเสียง และ RTC
สเปคของ Firefly CAM-3576Q38 :
- SoM – ICORE-3576Q38
- SoC – Rockchip RK3576 (Q38 – เชิงพาณิชย์) หรือ Rockchip RK3576J (JQ38 – อุตสาหกรรม) or Rockchip RK3576M (MQ38 – ยานยนต์)
- CPU – Octa-core CPU พร้อม 4x Cortex-A72 cores at 2.2 GHz, 4x Cortex-A53 cores @ 2.0 GHz (รุ่นอุตสาหกรรมและยานยนต์ทำงานที่ 1.6 GHz)
- GPU – Arm Mali-G52 MC3 GPU รองรับ OpenGL ES 1.1, 2.0, and 3.2, OpenCL 2.0, และ Vulkan 1.2
- NPU – AI accelerator ประสิทธิภาพ 6 TOPS (INT8) รองรับ INT4, INT8, INT16, BF16, TF32 แบบผสม
- VPU
- ถอดรหัสวิดีโอ
- H.265, VP9, AV1 และ AVS2 สูงสุด 8Kp30 หรือ 4Kp120
- H.264/AVC and MJPEG สูงสุด 4Kp60
- เข้ารหัสวิดีโอ – H.264, H.265, MJPEG สูงสุด 4Kp60
- ถอดรหัสวิดีโอ
- หน่วยความจำระบบ – 4, 8, หรือ 16 GB (LPDDR4/LPDDR4x/LPDDR5)
- สตอเรจ – eMMC flash สูงสุด 256GB
- อินเทอร์เฟซโฮสต์ – 2x คอนเนกเตอร์ board-to-board พร้อม high-density 100-พิน
- SoC – Rockchip RK3576 (Q38 – เชิงพาณิชย์) หรือ Rockchip RK3576J (JQ38 – อุตสาหกรรม) or Rockchip RK3576M (MQ38 – ยานยนต์)
- สตอเรจ – ช่องใส่ MicroSD card slot
- จอแสดงผล – ไม่มีพอร์ตจอแสดงผลบนบอร์ด SoC รองรับ HDMI/eDP/DP/MIPI DSI)
- กล้อง – คอนเนกเตอร์ MIPI-CSI DPHY แบบ FPC 40 พิน ระยะ 0.5 มม. รองรับ 1x 4-lane หรือ 2x 2-lane
- ระบบเสียง
- คอนเนกเตอร์ไมโครโฟน 2 พิน 1.25 มม.
- คอนเนกเตอร์ลำโพง 4 พิน 1.25 มม. (รองรับ 2x 10W @ 6Ω หรือ 8Ω)
- เครือข่าย
- Ethernet 10/100 Mbps ผ่านคอนเนกเตอร์ 8 พิน 1.25 มม.
- ใช้ PHY S18610G ในตัว (ต้องใช้ RJ45 ที่มี Magnetics ในตัว)
- โมดูล Wi-Fi 6 แบบ Dual-band (802.11a/b/g/n/ac/ax) พร้อมคอนเนกเตอร์สายอากาศ
- USB
- พอร์ต USB Type-C (โหมด Device)
- 1x อินเทอร์เฟส USB 2.0 ผ่านคอนเนกเตอร์ขยาย 24 พิน
- Serial
- 1x RS485 ผ่านคอนเนกเตอร์ 8 พิน 1.25 มม.
- 1x UART ผ่านคอนเนกเตอร์ขยาย 24 พิน
- การขยาย – คอนเนกเตอร์ FPC 24 พิน ระยะ 0.5 มม., มี 1x USB 2.0, 1x ADC, 1x I²C, 1x UART, 10x GPIO และเอาต์พุตไฟ 5V
- อื่น ๆ
- ปุ่ม Reset และ MaskRom
- คอนเนกเตอร์แบตเตอรี่ RTC (2 พิน 1.25 มม.)
- Debug header (3 พิน 1.25 มม.)
- Recovery header (2 พิน 1.25 มม.)
- พลังงาน – อินพุตไฟ 12V DC ผ่านคอนเนกเตอร์ 8 พิน 1.25 มม.
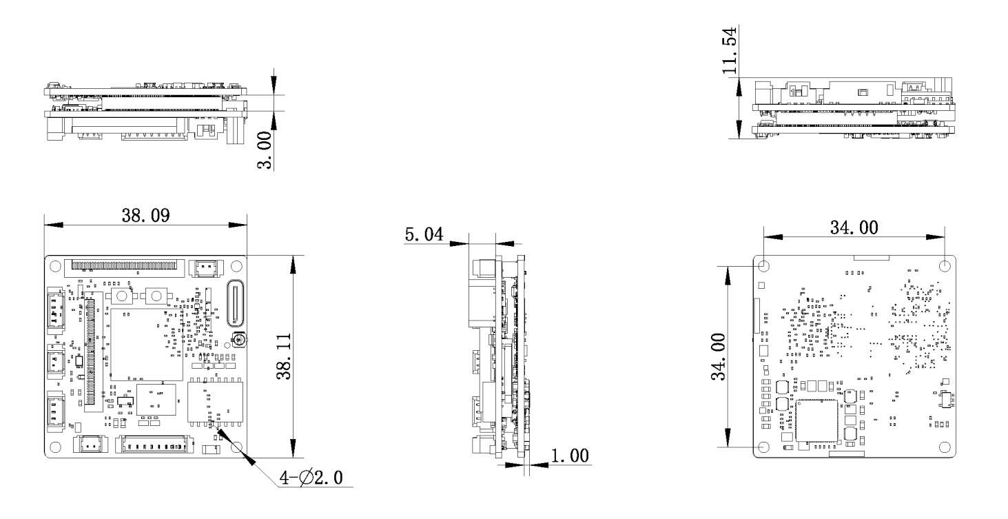
- ขนาด – 38.11 × 38.09 × 11.54 มม.
น้ำหนัก – ประมาณ 21 กรัม - ช่วงอุณหภูมิการทำงาน
- เชิงพาณิชย์ – -20°C ถึง 60°C
- อุตสาหกรรม / ยานยนต์ – -40°C ถึง 85°C
แม้ CAM-3576Q38 จะถูกเรียกว่า บอร์ด SBC แต่โครงสร้างจริงประกอบด้วย โมดูล (SoM) อยู่ด้านบน ที่รวม CPU, หน่วยความจำ, eMMC และ PMIC และมี Carrier Board ด้านล่างสำหรับเชื่อมต่อ I/O และอินเทอร์เฟซทั้งหมด
CAM-3576Q38 รองรับ RTLinux สำหรับงานเครือข่ายแบบเรียลไทม์ การแยกทรัพยากรฮาร์ดแวร์ Flexbus และ DSMC รวมถึง Linux มาตรฐาน และ Buildroot สำหรับการพัฒนาระบบฝังตัว รองรับ Docker, การนำเข้า/ส่งออกโมเดลด้วย RKNN และเฟรมเวิร์ก AI ยอดนิยม เช่น TensorFlow, TensorFlow Lite, PyTorch, ONNX, Caffe และ Darknet พร้อมรองรับ custom operator นอกจากนี้ยังรองรับการรัน โมเดล Transformer ขนาดใหญ่ และงาน AI แบบเรียลไทม์ เช่น YOLO สำหรับการประมวลผลบนอุปกรณ์โดยตรง
จากข้อมูลใน Wiki, บอร์ด SBC นี้รองรับโดย Firefly Linux software stack พร้อม SDK, BSP และเอกสารครบถ้วน รองรับการสร้างและแฟลชเฟิร์มแวร์ Linux, อัปเกรดผ่าน USB/SD, กู้คืนด้วย MaskRom และดีบักผ่าน Serial รวมถึงเอกสาร Device Tree (DTS), การใช้งาน NPU และโมเดล LLM บนเครื่อง, ไดรเวอร์กล้องและอุปกรณ์ต่อพ่วง, Watchdog, RTC และคู่มือผู้ใช้ Linux อย่างละเอียด โดยมีซอร์สโค้ด เครื่องมือ และเอกสารอ้างอิงให้ดาวน์โหลดจากหน้า Resource ของ Firefly
ยังมีบอร์ด SBC, มินิพีซี และโมดูล (SoM) อีกมากมายที่ใช้ Rockchip RK3576 SoC, เช่น Radxa ROCK 4D SBC, NanoPi M5 Mini PC, และ Radxa CM4 SoM, และอื่นๆ. ส่วนกลุ่มบอร์ดด SBC แบบ Ultra-compact เช่น Radxa ROCK Pi S, Quantum Tiny, Tiny NanoPi NEO3, และ BreadBee ที่ใช้ชิป MStar MSC313E สำหรับ Firefly CAM-3576 เป็นบอร์ด Single Board Computer ที่ผสานพลังของชิป Rockchip RK3576 เข้ากับฟอร์มแฟกเตอร์ขนาดจิ๋วเพียง 38 × 38 มม.
CAM-3576Q38 บอร์ด AI SBC ขนาดจิ่วที่ใช้ RK3576 มีวางจำหน่ายบน AliExpress ทั้งรุ่นเชิงพาณิชย์ อุตสาหกรรม และยานยนต์, โดยราคาเริ่มต้นประมาณ $180.47 (~5,600฿) สำหรับเชิงพาณิชย์ 4GB/64GB, ราคา $191.44 (~5,900฿) สำหรับอุตสาหกรรม, $229.86 (~7,100฿) สำหรับยานยนต์ ราคาสูงสุดอยู่ที่ $301.20 (~9,300฿) สำหรับรุ่นอุตสาหกรรม 8GB/64GB การสั่งซื้อจำนวนมาก (10 ชิ้นขึ้นไป) จะได้ส่วนลดเพิ่ม 2% (ยังไม่รวมภาษี), รุ่นเชิงพาณิชย์ 4GB/64GB ของ “mini single board computer” ยังจำหน่ายบน Firefly shop ราคา $139(~4,300฿), และตัวโมดูลอย่างเดียวราคา $129(~4,000฿) สามารถดูข้อมูลเพิ่มเติมได้จากหน้าผลิตภัณฑ์
แปลจากบทความภาษาอังกฤษ : Firefly CAM-3576 series – Tiny Rockchip RK3576 SBCs for commercial, industrial, and automotive applications

บรรณาธิการข่าวและบทความภาษาไทย CNX Software ได้มีความสนใจในด้านเทคโนโลยี โดยเฉพาะ Smart Home และ IoT



